企查查IPO前夜收央行罚单,陈德强没给妻子股份观点
文/瑞财经 李姗姗
“让企业数据不再是少数人的奢侈品,而成为大众触手可及的必需品。”
十多年前,陈德强创办企查查科技股份有限公司(下称“企查查”)的目的很明确。企查查上线了首款移动端APP后,立刻填补了市场空白,成为国内首家商业工商信息查询平台。
近年来,随着数据要素市场化配置的不断深化,数据服务类企业正加速拥抱资本市场。企查查在10月上旬向上交所主板递交了招股书,计划募集资金15亿元。
2025年上半年,这家“数据中间商”毛利率高达90.74%。支撑这份亮眼财报的,是其庞大的C端用户基本盘,截至2025年6月末,企查查累计注册用户突破1.5亿,这些用户支付的会员费,撑起了企查查超7亿元的营收。
而就在递表前一天,企查查收到了一张来自中国人民银行江苏省分行开出的罚单,直指其“违反征信业务管理规定”,令其IPO之路蒙上一层阴影。
01
IPO前保荐机构入股
发行市值约150亿元
企查查的诞生始于一场老同事之间的联手创业。
陈德强出生于1985年,自2007年起先后在新电信息科技(苏州)有限公司、江苏欧索软件有限公司担任软件工程师,积累了七年技术经验。
2014年,陈德强与两位前同事杨京和施阳,共同筹备一个篮球场、羽毛球馆等场地租赁的创业项目,在找场地时总因为分不清中间人与真正的场馆老板而屡屡碰壁。
于是,三人开发了一个微信公众号查询工具——输入场馆名,就能查到其工商注册信息。就是这一小小的发明,催生了企查查,一个全新的商业数据查询赛道由此开启。
陈德强联手的这两位创业伙伴也各有千秋。杨京曾担任南京江琛自动化GIS(地理信息系统)项目经理,后进入江苏欧索软件任电信事业部经理;施阳则从2003年起在新电信息科技(苏州)任职超11年,从工程师升任高级经理。
2014年3月,企查查的前身苏州朗动正式成立,注册资本50万元。公司成立初期,陈德强的配偶马群和杨京的母亲李素芹分别代其持有股权,由马群、李素芹、施阳分别持有36%、34%、30%股份,次年5月完成代持还原。
经历一系列股权变动后,2020年8月,公司更名为企查查有限,2022年初,股东阵容扩大至13名,其中,陈德强持股27.1%,万得信息(一家领先的金融软件服务企业)持股16.92%。
2022年2月-8月,企查查遭遇股东集体撤资,原有的8名投资机构中有5名退出,包括创东方、苏大天宫、宁波小溪、天宫一号和深圳燧石,同时,险峰投资也进行减持,将所持公司股份转让给陈德强和杨京。
不过,企查查很快又引入新的投资者。同年12月,兴富数智、国方构筑、元禾鼎业入股,分别受让陈德强、杨京所持公司71.04万股、44.4万股及106.38万股股份。该股权转让基于2021年-2022年其与陈德强、杨京和企查查签署的《可交换债协议》,将相关借款转换成相应的企查查股权。
2023年7月,企查查完成股份制改革,3个月后,中信投资认缴公司新增股本225万股。值得一提的是,中信投资是中信证券的全资子公司,而后者正是此次企查查IPO的保荐机构。
2024年7月,万得信息基于自身架构调整需要,将其持有的公司全部股份转让给其全资子公司荷花缘。同年11月,荷花缘、杨京分别向君安控股转让170.6万股、42.6万股股份,转让价格23.5元/股,转让价款分别为4009.1万元、1001.1万元。
此次IPO,企查查拟发行不超过4025万股股份,占发行后公司总股本的10%,对应15亿元拟募集资金金额,由此测算发行后市值约为150亿元。
02
与大股东关联交易622万元
实控人胞弟曾借钱周转
递表前,陈德强为企查查控股股东、实际控制人,其直接持股35.49%,通过员工持股平台苏州知彼、苏州知己间接控制11.54%、5.96%股份,合计控制公司53%股份。杨京通过直接及间接方式合计持股14.66%,施阳持股4.73%。

荷花缘为企查查第一大外部股东,持有16.34%股份;此外,险峰投资、中信投资分别持股5.69%、0.62%。
2022年-2025年上半年,企查查与万得信息产生经常性关联交易,公司为校验信息质量,向万得信息采购信息服务金额合计622.39万元。
除此之外,企查查还与旗下公司苏州墨腾存在少量关联交易。公司少量业务需在中国香港公司注册处充值购买报告,考虑到支付结算的便利性,委托苏州墨腾提供代充值服务并给予一定服务费,期内向苏州墨腾支付服务费合计30.27万元;与此同时,公司还向苏州墨腾销售会员类产品与数据接口服务,关联销售金额合计9.9万元。

2022年,陈德强的胞弟陈德志因自身资金周转需要曾从公司借走30万元,并于当年10月连本带利偿还完毕。招股书显示,陈德志为公司运营中心企划负责人,通过苏州知彼持有公司0.05%股份。
同年12月,杨京为解决股转对应的个人所得税资金缺口,从公司借走400万元,借款年利率4%(单利),于2023年归还本金及利息403.68万元。

03
实控人妻子零持股
“90后”专科学历运营总监年薪百万
创始人团队坐镇企查查董事会,陈德强担任董事长,杨京和施阳为董事,此外,杨京还担任公司总经理职位,施阳为副总经理。
公司另外两位非独董分别是马群和周立。马群出生于1983年,现年42岁,比陈德强大了两岁,拥有丰富的销售经验,此前在同程旅游任销售,2014年3月在企查查初创时就成为董事,与陈德强共同见证公司的成长。而周立则由万得信息提名,目前担任万得信息高级副总裁。
公司董事会秘书为白燕良,他在券商行业拥有十年从业经验,自2011年起先后在兴业证券、中原证券、民生证券担任业务董事,更早还曾在普华永道会计师事务所担任高级审计员,于2021年5月加入企查查。
马群是企查查年薪最低的董事会成员,且是非独董里唯一零持股的。2024年,马群领薪41.23万元,而陈德强、杨京和施阳分别领薪85.5万元、90.3万元及90万元。
公司薪酬最高的是数据总监童刚,2024年,其年薪为174.44万元,是陈德强的两倍之多;其次,是运营总监尹尚文166.26万元以及董秘白燕良111.02万元。
童刚与陈德强一样是资深技术出身,二人还是前同事关系。自2006年起,他先后在苏州普实软件、新电信息科技(苏州)、苏州贝尔塔数据担任软件工程师、高级软件顾问,加入企查查之前,积累了11年开发经验。
尹尚文出生于1991年,是企查查年龄最小的核心人员,虽然为专科学历,但他升职速度很快。2012年12月,尹尚文进入南京元贝信息技术有限公司担任了半年PHP(用于网站开发)工程师后,便跳槽到南京多火网络科技有限公司成为高级工程师,一年后来到企查查,任公司产品总监,2022年1月调任运营总监。
2024年,企查查员工数量合计610名,较2023年减少41名,公司表示,主要是公司为提升经营效率和内控管理水平,对技术、研发和销售人员进行结构优化所致。截至2025年6月末,员工数量为639名。
04
年入7亿的会员生意
毛利率突破90%
企查查,是一门将公开的商业信息进行系统化整合,再通过会员订阅模式向用户收费的生意。
招股书显示,企查查的收入主要来源于C端(个人用户)和B端(企业用户)。其中,C端客户是公司的营收支柱,2022年-2025年上半年(下称“报告期”),各期贡献了超75%的收入。
公司产品主要包括会员类产品、专业版产品、数据接口服务。VIP会员作为最早商业化的产品,是企查查的业务基本盘。2022年至2024年,公司会员类产品收入由4.41亿元增长至6.02亿元,收入占比在85%左右。

报告期内,企查查累计注册用户从8821.51万大幅增加至1.51亿,各期付费户数也从90.62万增长至104.8万,2025年上半年为54.83万个。
2022年,企查查VIP会员费从360元/年涨至388元/年,最贵的SVIP要1800元/年。
但涨价后,企查查的获客和留客难度增加,新增付费用户数从2023年的55.56万降至2024年的50.76万,减少了将近5万;每付费用户平均收入(ARPPU)增速也从2023年的3.4%骤降至2024年的0.3%。

公司B端客户包括5大国有银行、12家股份制商业银行以及上百家中国500强企业,期内,B端业务收入从1.06亿元增长至1.64亿元,占比从20.49%提升至23.13%。
两大类型客户加持下,2022年-2025年上半年,企查查实现营业收入分别为5.18亿元、6.18亿元、7.08亿元及3.75亿元;净利润分别为1.9亿元、2.59亿元、3.17亿元及1.72亿元。
不仅营收净利稳步增长,毛利率也实现稳中有升,2022年为87.24%,到了2025年上半年更是冲至90.74%,各期较同行业可比公司毛利率均值高出2-3个百分点。

企查查的商业模式建立在对海量公开数据的抓取与加工之上,公司在招股书中坦承,“数据来源复杂多样,仍可能存在侵犯个人隐私、未能有效保护个人信息的风险”以及“难以确保所有数据的准确性”。
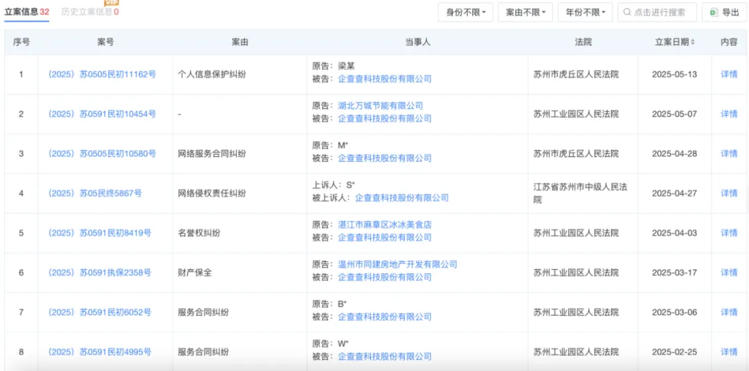
公开信息显示,今年以来,企查查涉及个人信息保护纠纷、名誉权纠纷、侵权责任纠纷等各种诉讼,累计已有10条立案信息。

就在递交招股书前一天,中国人民银行江苏省分行对企查查开出罚单,直指其“违反征信业务管理规定”,被处以1万元罚款,时任征信业务主管魏某莉被罚款300元。

此外,在黑猫投诉平台上,有关企查查的投诉高达6400多条,涉及“自动续费”、“诱导消费”、“退款难”的投诉记录持续不断,近期单笔争议金额最高达到3600元。


05
三年半支出宣传推广费2.7亿
理财投资近16亿
为了维系用户增长,企查查在营销上投入不菲。报告期内,公司销售费用分别为1.32亿元、1.26亿元、1.13亿元及6098.95万元,占营收的比例分别为25.37%、20.42%、15.88%和16.25%。其中,线上推广费、广告宣传费合计支出2.71亿元。
研发费用略低于销售费用,报告期内,公司支出研发费用分别为9342.39万元、1.08亿元、1.17亿元及6025.99万元,对应研发费用率分别为18.02%、17.45%、16.56%和16.05%,逐年下滑。
研发费用主要是研发人员薪酬,2025年上半年,企查查研发人员平均薪酬为44.86万元,是销售人员平均薪酬25.18万元的1.78倍。
下降的研发费用率与高昂的理财投资形成对比。截至2025年6月末,公司交易性金融资产为15.95亿元,占期末流动资产的比例达90.61%,均为到期日期在12个月以内的结构性存款及银行理财产品。
公司自2020年开始规划修建自有综合办公楼,于2023年达到预定可使用状态并转入固定资产,导致固定资产账面价值从2022年的2197.75万元大增至2023年的2.53亿元。
由于购买大量理财产品和购建长期资产,导致公司投资活动现金流净额大多为负,报告期各期分别为-1.18亿元、1.92亿元、-8.18亿元及-2.64亿元。
筹资活动现金流也出现持续净流出的情况,2022年及2023年分别净流出1.05亿元、1.24亿元,主要是支付股利所致。
2022年及2023年,企查查进行分红1亿元和2亿元,估算实控人陈德强可落袋约1.45亿元。
报告期各期,公司经营活动获取现金能力较强,经营活动产生的现金流量净额分别为2.76亿元、3.99亿元、4.25亿元和2.37亿元。
附:企查查上市发行有关中介机构清单
保荐人、主承销商:中信证券股份有限公司
发行人律师:北京德恒律师事务所
审计机构:荣诚会计师事务所(特殊普通合伙)
评估机构:上海东洲资产评估有限公司