黄子韬卫生巾公司申请朵薇商标 黄子韬卫生巾公司申请品牌商标观点
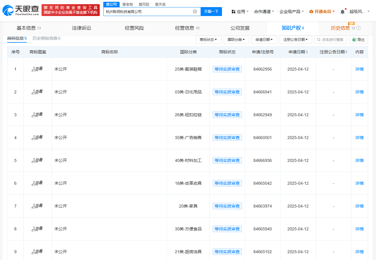
天眼查App显示,近日,杭州聆玥科技有限公司申请注册多枚“朵薇”图形商标,国际分类涉及广告销售、日化用品、服装鞋帽等,当前商标状态均为等待实质审查。
杭州聆玥科技有限公司成立于2024年6月,法定代表人为徐嘉斌,注册资本500万人民币,经营范围包括人卫生用品销售、卫生用品和一次性使用医疗用品销售等。股权全景穿透图显示,该公司由浙江朵薇护理用品有限公司全资持股,后者由黄子韬间接持股。据报道,此前,黄子韬宣布做卫生巾引发多方关注。5月10日,黄子韬在其抖音直播间官宣:将于下周日(18日)在位于浙江东阳的朵薇工厂举办朵薇新品发布会。


